장바구니
전기스쿨소개
교수소개
업데이트 : 2026.04.29
▼
■ 개강안내
■ 온라인강의
■ 원격제어
■ 뉴스레터
▼
필기합격반 도서
실기합격반 도서
무료동영상 도서
필기과정
필기종합반
과목별 단과반
필기특강반
실기과정
전기(산업)기사
공사(산업)기사
년도별문제
실기모의고사
USB 강의
필기합격반
실기과정 기사
실기과정 공사
기간무제한
필기합격반
실기과정 기사
실기과정 공사
실기모의고사
전기(산업)기사
공사(산업)기사
필기특강반
홈
>
커뮤니티
>
학습자료
우리들의 이야기 / 정보공유 / 무료학습자료
홈
>
커뮤니티
>
학습자료
합격수기
무료학습
학습자료
복원/모의고사
정회원 자료
열린게시판
구독게시판
전체보기
기사실기
기사필기
기술사
제목
이름
내용
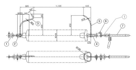
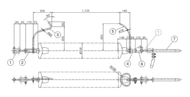
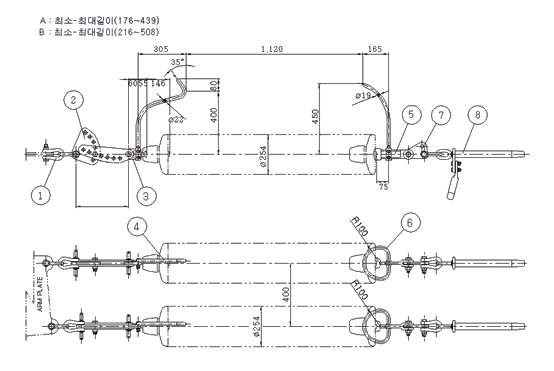
번호
제목
등록인
등록일
추천수
조회수
비고
전기기사 전기기기, 15점 이상을 위한 캐릭터 공략법
김대호
2025-07-02
163
2564
한국전기설비규정(KEC), 15점 이상을 위한
김대호
2025-07-02
178
3745
전기기사 전력공학, 15점 이상을 위한 필승 공략집
김대호
2025-07-02
161
2770
전기기사 전자기학, 12점을 위한 전략적 학습법
김대호
2025-07-02
160
2485
전기기사 회로이론, 12점 확보를 위한 최소 공략법
김대호
2025-07-02
163
2816
표준용어사전
전기스쿨
2021-02-19
462
9168
◆ 전선약호 Full name
김대호
2018-03-29
498
13703
◆ 전기의 단위 읽기 쓰기
김대호
2018-03-14
729
28378
◆ 실기시험 학습방법 (다수생 필독)
김대호
2016-11-21
475
14541
공학기초자료
김대호
2016-11-14
321
4312
◆ 관리자 자료실
김대호
2016-10-06
460
10851
68
[전체]
픽스처 스터드와 히키
(
0
)
김대호
2016-11-02
271
3813
67
[기사실기]
발전기실
(
0
)
김대호
2016-11-02
305
1876
66
[전체]
유도전동기 명판
(
0
)
김대호
2016-11-02
243
3050
65
[전체]
MOF명판
(
0
)
김대호
2016-11-02
264
2086
64
[기사실기]
피뢰기의 특성요소
(
0
)
김대호
2016-11-01
414
7435
63
[전체]
케이블헤드의 명칭
(
0
)
김대호
2016-10-29
247
2122
62
[전체]
철탑의 오프셋
(
0
)
김대호
2016-10-28
289
4194
61
[전체]
조명기구의 보호등급
(
0
)
김대호
2016-10-11
250
3581
60
[기사실기]
최대수요전력계 demand meter
(
1
)
김대호
2016-10-08
305
2353
59
[전체]
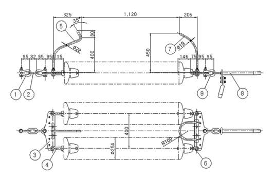
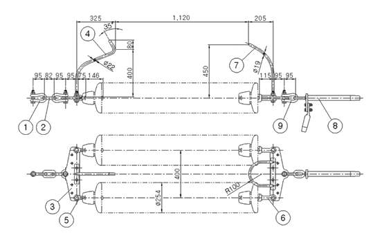
1련현수 애자장치(복도체)
(
0
)
김대호
2016-10-06
271
2176
58
[전체]
1련현수 애자장치(단도체)
(
0
)
김대호
2016-10-06
319
2293
57
[전체]
2련현수 애자장치(단도체)
(
0
)
김대호
2016-10-06
242
1869
56
[전체]
2련현수 애자장치(복도체)
(
0
)
김대호
2016-10-06
254
2386
55
[전체]
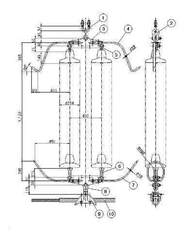
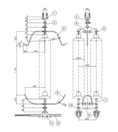
2련내장 애자장치(단도체-정조형)
(
0
)
김대호
2016-10-06
242
2073
54
[전체]
2련내장 애자장치(단도체-역조형)
(
0
)
김대호
2016-10-06
256
2470
53
[전체]
1련내장 애자장치(단도체-정조형)
(
0
)
김대호
2016-10-06
250
2137
52
[전체]
1련내장 애자장치(단도체-역조형)
(
0
)
김대호
2016-10-06
244
2309
51
[전체]
2련내장 애자장치(복도체-정조형)
(
0
)
김대호
2016-10-06
261
1923
50
[전체]
2련내장 애자장치(복도체-역조형)
(
0
)
김대호
2016-10-06
270
2166
49
[전체]
가공지선 현수애자장치
(
0
)
김대호
2016-10-06
274
3689
<<
41
42
43
44
45
46
47
48
49
50
>>
사이트 이용문의 : 0505-233-3314 FAX : 0505-233-3315 이메일주소 : pekor@naver.com 대표 : 강명아
주소 : 서울특별시 서초구 효령로 41, 1층 통신판매등록번호 : 2010-서울서초-0491
사업자등록번호 : 114-90-85522 스카이미디어(교육청 평생교육시설) 개인정보관리책임자 : 강명아
Since2004, Copyright ⓒ 2026 스카이미디어 / 전기스쿨 All Rights Reserved. Ver 3.4